GE
Ijsmachine
Profile PIP70SS
GE Profile PIP70SS Handleiding
Hier is de GE Profile PIP70SS (Ijsmachine) gebruikershandleiding. 2 pagina's in taal Engels met een gewicht van 0.3 Mb. Als u geen antwoorden op uw probleem kunt vinden Vraag het onze community.
Pagina 1/2

Questions? Call 800.GE.CARES (800.432.2737) or visit our Website at: GEAppliances.com
In Canada, call 1.800.561.3344 or visit our Website at: www.GEAppliances.ca
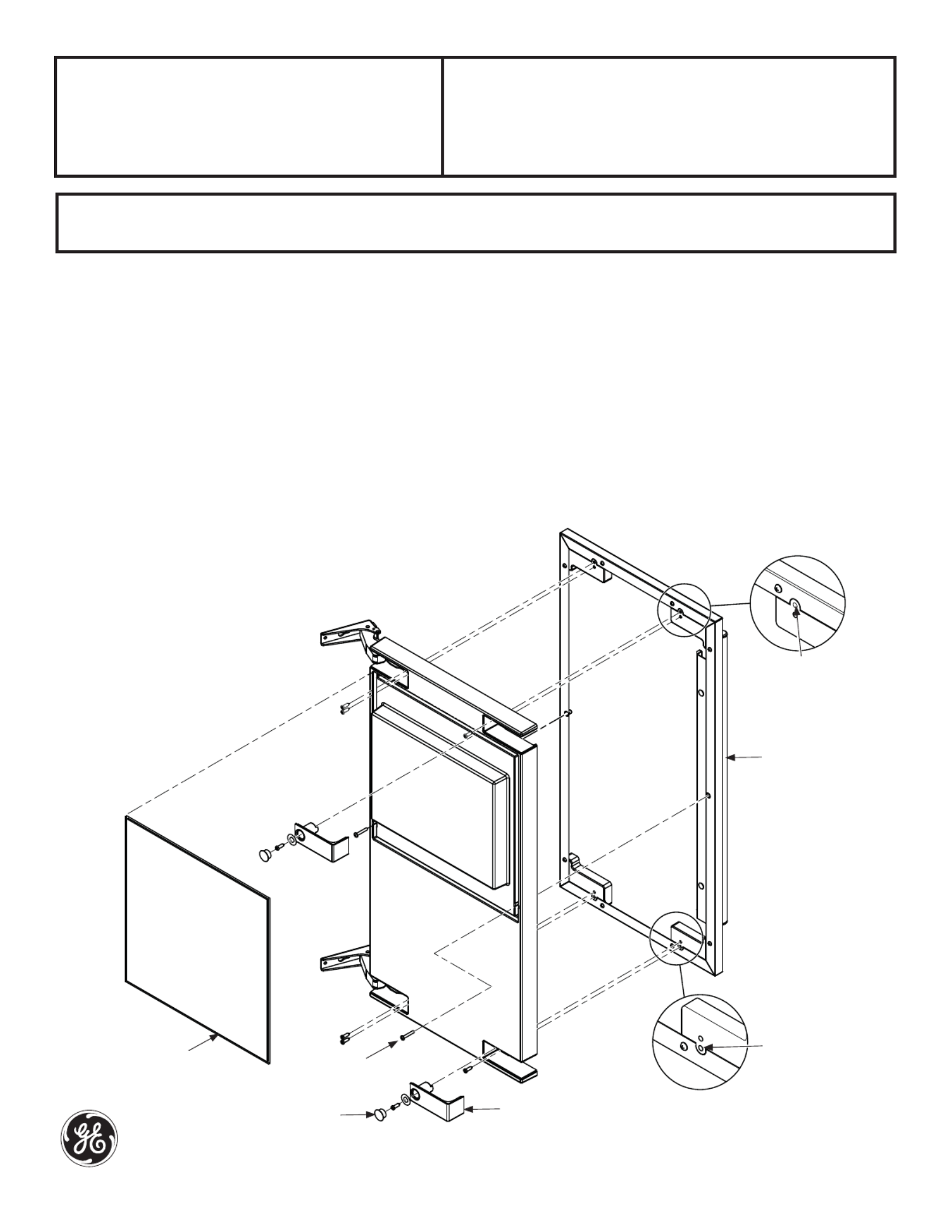
Installation Stainless Steel
Instructions Door Panel
Installing the Stainless Steel Panel with Handle
The panel will be held on by 6 sheet metal screws and 2
machine screws.
1. Remove the gasket from the inside of the door and retain
for later use.
2. Remove any plastic covering the stainless steel panel.
3. Place the door panel onto the outside of the door and
secure it with 2 machine screws in the left center and right
center of the door.
4. Fasten the panel to the door using the 6 sheet metal
screws. In the hinge opening area opposite the hinge side,
use the outermost screw holes only.
5. Place the covers over the hinge opening areas and secure
each cover to the door using a sheet metal screw and
washer.
6. Insert hole plug over screw installed in step 5.
7. Return the gasket to its original position.
8. Attach the door to the cabinet using the original screws.
17-3590-01 31-49096-1 11-15 GE
Gasket Machine
Screw
Door
Panel
Use UPPER
hole at the top
Hole Plug Cover
Use LOWER
hole at the
bottom
GE
Appliances
Appliance Park
Louisville, KY 40225
GEAppliances.com
NOTE: If the door swing is going to be changed, please complete prior to installing the door panel per the directions in your Owner’s Manual.
Probleemoplossing GE Profile PIP70SS
Als je de handleiding al zorgvuldig hebt gelezen maar geen oplossing voor je probleem hebt gevonden, vraag dan andere gebruikers om hulp
Specificaties
| Merk: | GE |
| Categorie: | Ijsmachine |
| Model: | Profile PIP70SS |