Muse M-355 Handleiding
Hier is de Muse M-355 (Autoradio) gebruikershandleiding. 4 pagina's in taal Nederlands met een gewicht van 2.2 Mb. Als u geen antwoorden op uw probleem kunt vinden Vraag het onze community.
Pagina 1/4

ALVORENS TE BEGINNEN
NL - 1 NL - 2 NL - 5 NL - 6
NL - 7 NL - 8 NL - 9
Maak de verbindingen volgens de kleuren die op de illustratie zijn aangegeven. Een
verkeerde verbinding kan tot storingen in het toestel leiden of het elektrische system
van het voertuig beschadigen.
Gelieve de polariteit van de luidsprekers na te leven. Verbind nooit de kabels van de
linker en de rechter luidspreker met elkaar of met een metalen deel van het voertuig.
Controleer of de verbindingen correct zijn uitgevoerd alvorens het toestel in werking
te stellen.
Wanneer u de ze ker ingen vervan gt, moet u ze keringen gebr ui ken die
overeenstemmen
Wanneer u de zekering(en) vervangt, dient de nieuwe zekerin g hetzelfde
amperage te hebben als op de zekeringhouder staat vermeld.
Blokkeer de ventilatie-openingen niet. U kunt zo een oververhitting veroorzaken
binnenin het toestel en dat kan leiden tot brand.
Gelieve na het installeren van het toestel of het vervangen van de batterij van uw
voertuig het toestel in werking te stellen en op de toets RES te drukken die zich
op de hoofdeenheid van de autoradio bevindt met een scherm voorwerp, zoals
een balpen, om het toestel opnieuw te initialiseren. Daarna kunt u het voorpaneel
opnieuw plaatsen en beginnen met het afspelen.
Probeer nooit het toestel te wijzigen, dat kan tot ongevallen leiden.
Stop eerst het voertuig alvorens handelingen uit te voeren die u tijdens het rijden
kunnen aeiden.
Gebruik dit toestel niet bij extreme temperaturen. Alvorens het toestel in werking te
stellen, moet u ervoor zorgen dat de binnenkant van het toestel een temperatuur
heeft tussen -10°C en +60°C.
Gelieve het toestel te installeren op een plaats waar het de chauffeur niet kan
aeiden.
Laat de motor draaien alvorens het toestel in te schakelen, anders zou de batterij van
het toestel kunnen leeg lopen en zou het toestel niet ingeschakeld kunnen worden.
Vermijd blootstelling aan vocht en direct zonlicht.
Let op het magnetische veld dat het toestel veroorzaakt. Plaats geen creditkaarten,
cassettes of horloges in de buurt. Deze zouden kunnen beschadigd raken of
gegevens verliezen.
Om storing te vermijden, gaat u best uit de buurt van het toestel staan om uw GSM
te gebruiken.
Stel de afstandsbediening niet bloot aan hoge temperaturen of direct zonlicht. Dat
kan tot storingen leiden.
U moet de transportschroef verwijderen alvorens u overgaat tot de installatie
van het toestel.
Bekijk geen video’s of afbeeldingen terwijl u aan het rijden bent. Er verschijnt
een waarschuwing op het scherm.
1.
2.
3.
4.
5.
6.
7.
8.
9.
10.
11.
12.
13.
14.
15.
16.
17.
Als u een schijf kiest of aanmaakt die u wilt afspelen door middel van dit toestel,
houd dan rekening met de volgende punten:
• Vermijd al te lange bestandsnamen! Wij raden u aan om maximum 14 karakters te
gebruiken.
• De schijf kan slechts 3000 bestanden in totaal bevatten. Maar in het kader van een
inhoudstafel toont het meest 646 documenten aan.
• De schijf mag niet meer dan 299 mappen bevatten.
• Er mogen niet meer dan 37 mapniveaus zijn.
• Bestandsysteem (SD en USB) : FAT 32 en FAT 16.
Compatibele disks en bestanden
Ondanks de vooruitgang die werd geboekt met het oog op de compatibiliteit van alle
types disks is het niet mogelijk om de compatibiliteit te garanderen van disks die niet
voldoen aan de normen voor DVD, CD, VCD of SVCD.
Omwille van verschillende opnameformaten, brandsoftware en types disks kan dit
toestel bepaalde opnames of bestanden op CD of DVD niet afspelen. Het laden van
rewritable disks kan meer tijd in beslag nemen dan normale disks.
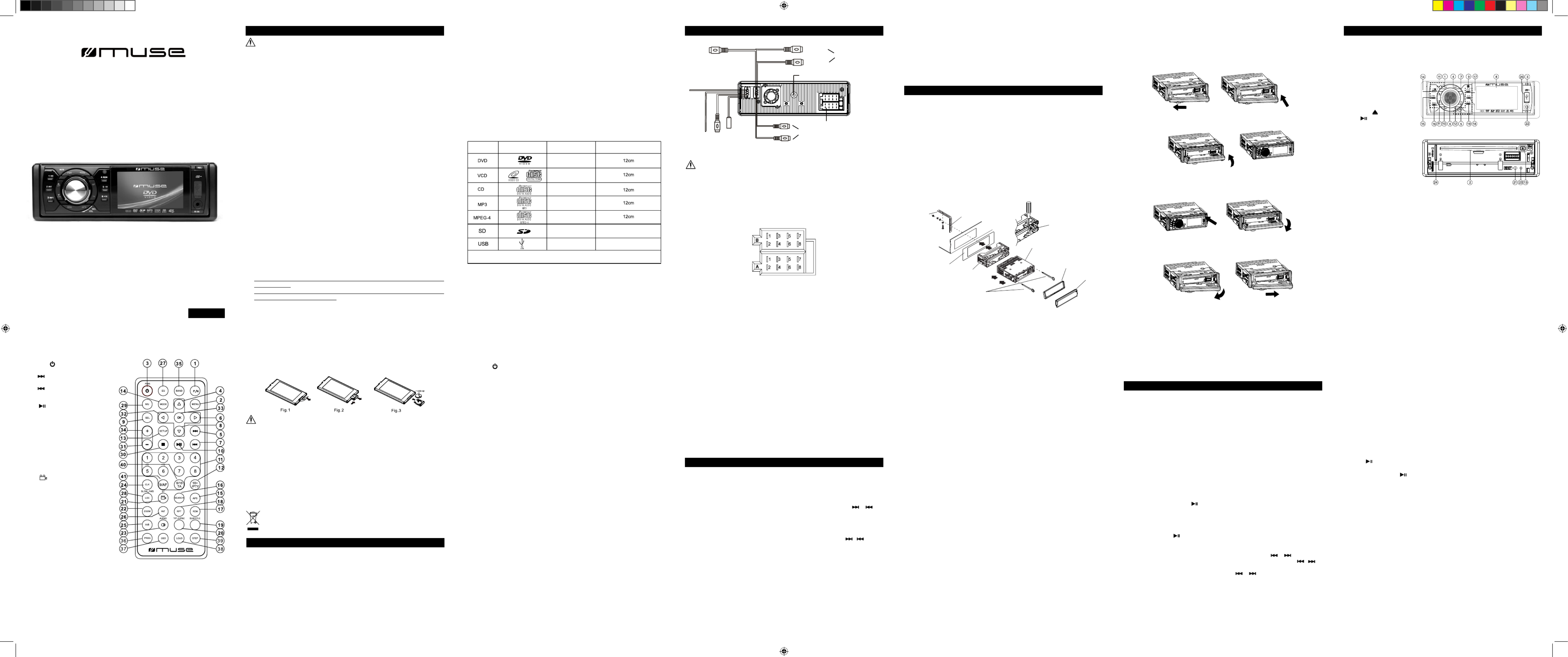
AANSLUITSCHEMA
OPMERKING:
1.Slu it voor uw e ige n veiligheid de pa rkeer draa d ( GROE N) aan o p d e
handremschakelaar.
Video zal alleen wor den getoond a ls d e auto is gestopt en de han dre m is
aangetrokken.
2.Indien u deze functie niet wenst te gebruiken, kunt u de bruine kabel aansluiten op
de negatieve pool.
De beschrijving van de vaste vrouwelijke ISO connector
Afstandsbediening
R1. P/N
R2. MENU
R3. PWR
R4. ▲
R5.
R6. ►
R7.
R8. ▼
R9. SEL
R10.
R 1 1 . N U M E R I E K E T O E T S E N
(0~10,+10, -10)
R12. 10+/PTY
R13. SETUP
R14. MODE
R15. APS
R16. SEARCH
R17. RDM
R18. RPT
R19. SUBTITLE
R20. TITLE/PBC
R21. /ST
R22. ZOOM
R23. AUDIO
R24. CLK
R25. A-B
R26. INT
R27. EQ
R28. LOC/SLOW-FWD
R29. MUTE
R30. ■
R31. VOLUME-
R32. ◄
R33. OK
R34. VOLUME+
R35. BAND
R36. PROG
R37. OSD
R38. LOUD
R39. STEP
R40. TA
R41. AF
De batterij van de afstandsbediening vervangen
1. Druk op het lipje en verwijder de batterijlader.
2. Plaats een lithiumbatterij van het type CR2025 volgens de aangeduide polariteit
binnenin het batterijvak.
3. Sluit het batterijvak.
Waarschuwing met betrekking tot batterijen
• Laad nooit niet-herlaadbare batterijen opnieuw op. Verwarm de batterijen niet en
demonteer ze niet.
• Om elk risico op ontplofng te vermijden, moet u de polariteit naleven zoals
aangegeven in het vak.
• Vervang de batterij enkel door een batterij met de kenmerken vereist door de
fabrikant.
• Wanneer de afstandsbediening ongebruikt blijft gedurende een langere periode,
verwijder dan de batterij.
• Stel de batterijen niet overmatige hitte bloot, zoals zonlicht, vuur of andere
gelijkaardige warmtebronnen.
• Om kortsluiting te vermijden geen metalen voorwerp gebruiken bij de plaatsing van
de batterij.
• Hou rekening met het milieu wanneer u zich ontdoet van lege batterijen.
Raadpleeg uw verkoper alvorens de batterijen weg te werpen, deze kan ze
misschien nog recycleren.
BASISFUNCTIES
Informatie over de afspeelzones
Deze DVD-speler is ontworpen om de informatie van de afspeelzones op DVD-disks
te lezen. Indien het zonenummer aangegeven op de DVD niet overeenstemt met het
zonen ummer van deze speler, kan deze laatste de dis k niet afspelen. Het
zonenummer van deze speler is 2 (Europa, Midden-Oosten, Zuid-Afrika, Japan). De
aanduiding “ALL” wijst op compatibiliteit met alle afspeelzones. Wanneer u een disk
koopt, controleer dan het logo op de doos.
Opmerking: Als zich storingen voordoen op het display, kunt u ook op de knop RESET
drukken om de normale werking te herstellen, dit zal de klokinstelling en bepaalde
functies die zijn opgeslagen wissen.
De geluidsinstellingen instellen
Druk kort en herhaaldelijk op de knop SEL om de geluidsinstellingen aan te passen,
u kunt VOL, BASS, TREBLE, BAL of FAD selecteren. Draai vervolgens aan de knop
VOL (6) of druk op de knop + of – (R34 of R31) om het niveau aan te passen.
ESP-functie
De functie ESP (Electronic Shock Protection) werkt voor discs van alle formaten.
ID3-functie
In de MP3-modus zal u tijdens het afspelen de bestandsnaam, de titel van het
nummer, de artiest, het album en de bitrate voorbij zien komen op het LCD-display.
Zolang de MP3-muziek die wordt afgespeeld relevante ID3-tags heeft van versie
1.0/2.0, zullen de vief hierboven genoemde items, bestand / liedje / artiest / album /
bitrate voorbij komen op het LCD-display.
Voorkeurszenders [1-6] knoppen
In RADIO-modus:
1) Om de huidige zender (frequentie en band) op te slaan, houd één van de zes
knoppen van de voorkeurszenders [1-6] ingedrukt.
2) Dr uk o p één va n d e kno ppe n van de voork eurszen ders [ 1- 6] o m de
voorkeurszender op te roepen.
Selecteren van MO/ST
In de radiostatus kunt u op de knop ST (R21) op de afstandsbediening drukken om de
MONO- of STEREO-modus te selecteren.
* Dit kan alleen bij het luisteren naar de FM-band.
LOC selecteren
Druk in de radiomodus op de knop LOC (R28) om te selecteren of u sterke of zwakke
signalen wilt ontvangen. Als “LOC” op het display in het rood wordt weergegeven,
kunnen alleen lokale zenders worden ontvangen. Als het in het wit wordt weergegeven
kunnen zowel minder sterke signalen als lokale zenders worden ontvangen.
Programmatype
Druk kort op de knop PTY om de functie PTY te activeren. Als PTY is ingeschakeld,
kunt u op "PTY" of "1" tot "6" drukken om een programmatype te selecteren en
vervolgens automatisch naar een special programma te zoeken. Het display toont
SEEK PTY. Als PTY wordt uitgeschakeld, zal het zoeken worden gestopt.
AF-functie [alternatieve frequenties]
Als u kort op de knop AF drukt, zal de AF-schakelmodus worden geselecteerd en de staat
van de AF-schakelmodus wordt getoond door het knipperde AF-icoontje op het display.
AF is wit: AF-schakelmodus is uitgeschakeld.
AF is rood: AF-schakelmodus is ingeschakeld en heeft RDS-informatie.
Segment knippert: AF-schakelmodus is ingeschakeld, maar er is nog geen RDS-
informatie ontvangen.
Als de AF-schakelmodus is geselecteerd, zal de radio de signaalsterke van
alternatieve frequenties controleren. Elke keer als er een nieuwe AF wordt gevonden
met een sterker signaal dan de huidige zender, zal er kort naar deze frequentie
worden geschakeld, de NIEUWE FREQUENTIE wordt getoond (Als AF knippert op het
LCD, zal het blijven zoeken naar een sterkere RDS-zender. Als AF en TP knipperen
op het LCD, dan zoekt het apparaat alleen naar een zender met verkeersinformatie).
Als AF is ingeschakeld in de FM-modus, dan kunnen de functies SEEK(SCAN),
AUTO-MEMORY(APS) alleen RDS-zenders ontvangen en opslaan.
TA-functie [verkeersinformatie]
Druk kort op de knop TA om de TA-zoekmodus in te schakelen.
Als er verkeersinformatie wordt uitgezonden:
1).Als het apparaat een disc afspeelt, zal het apparaat tijdelijk naar de radiomodus
schakelen.
2).Als het apparaat in radiomodus is, zal het automatisch naar de verkeersinformatie
schakelen.
* TA onderbrekingsfunctie:
De huidige verkeersinformatie wordt geannuleerd door kort op de knop TA te drukken.
* Als TA is ingeschakeld, dan kunnen de functies SEEK (SCAN), AUTO MEMORY
(APS) alleen RDS-zenders met TA-identicatie ontvangen of opslaan.
Een hoofdstuk/track selecteren met de numerieke toetsen
Druk tijdens het afspelen van DVD/VCD(PBC UIT)/MP3/CD-discs op één van de
numerieke toetsen 1~9 en de 0/10 om rechtstreeks de 1e tot 10e track / hoofdstuk af
te spelen (de 0/10 knop wordt gebruikt als de knop 10). Als u een track/hoofdstuk wilt
afspelen met een nummer hoger dan 10, dan kunt u de toets 10 in combinatie met de
toetsen 1~9 en 0/10 gebruiken.
Voorbeeld 1, om de 13e track/hoofdstuk af te spelen, druk eerst één keer op de knop
10+ en vervolgens op de knop 3.
Voorbeeld 2, om de 34e track/hoofdstuk af te spelen, druk eerst drie keer op de knop
10+ en druk vervolgens op de knop 4.(de knop 0/10 wordt gebruikt om de 0 in te voeren)
Opmerking: houd de knop +10 of -10 ingedrukt om de 10 volgende of 10 vorige tracks
af te spelen (alleen voor mp3).
Een hoofdstuk/track selecteren met het Titel/PBC-menu (indien opgenomen op
disc)
Bij het afspelen van DVD-discs:
1. Druk op de knop TITLE op de afstandsbediening om de titellijst te tonen.
2. Druk op de navigatietoetsen om de gewenste titel te selecteren en druk vervolgens
op OK of om het menu van de geselecteerde titel te openen.
3. Druk op de navigatietoetsen om het gewenste hoofdstuk te selecteren en druk ten
slotte op de knop OK of om het geselecteerde hoofdstuk af te spelen.
Druk tijdens het afspelen op de knop MENU om het menu van de titel die wordt
afgespeeld rechtstreeks te tonen.
In VCD-modus:
Druk op de knop PBC om de PBC-functie aan/uit te zetten (Play Back Control)
1. Als PBC is geactiveerd, zal het PBC-menu, indien aanwezig op de disc, worden
getoond.
2. Druk op de numerieke toetsen om de track die u wilt afspelen te selecteren.
In MP3-modus:
1. Het hoofdmenu wordt te alle tijde getoond op de monitor (en de knop TITLE of
MENU heeft geen functie).
2. Druk op de navigatietoetsen om uw gewenste MAP te selecteren en druk
vervo lgens o p de knop OK om de MAP te openen. Druk vervolgens op de
navigatietoetsen om het gewenste bestand te openen en druk op de knop OK om het
geselecteerde bestand af te spelen.
In CD-modus, de knoppen TITLE, PBC en MENU zijn uitgeschakeld.
NL - 3 NL - 4
NL - 10 NL - 11 NL - 12 NL - 13
Belangrijke veiligheidsrichtlijnen
CONNECTOR A
1.
2.
3.
4. Geheugen +12V
5. Antenne auto
6.
7. 12V (Naar contactslot)
8. Massa
CONNECTOR B
1.Luidspreker achteraan rechts(+)
2.Luidspreker achteraan rechts(-)
3.Luidspreker vooraan rechts(+)
4.Luidspreker vooraan rechts(-)
5.Luidspreker vooraan links(+)
6.Luidspreker vooraan links(-)
7.Luidspreker achteraan links(+)
8.Luidspreker achteraan links(-)
Verwijder het voorpaneel
12
3 4
1 2
34
INSTALLATIE VAN HET TOESTEL
Ongeacht het gebruikte type installatie moet u de autoradio uit het montageframe
trekken alvorens de installatie te beginnen.
Lijst onderdelen:
Montageframe x1
Montagebout achterkant x1
Veerring x1
Vlakke sluitring x2
Nut x1
Schroef x1
Sierrand x1
Sleutels x2
ISO aansluitdraad x2
Stalen balk x1
A/V aansluitdraad x2
Opmerking: Verwijder transportschroeven vóór het installeren.
Installeer het voorpaneel
BESCHRIJVING VAN HET TOESTEL
Vooraijde
1. PWR/MUTE
2. DISCSLEUF
3. REL
4. MODE
5. TA
6. SEL en VOL
7. AF
8. Monitor
9. IR-afstandsbedieningssensor
10. BAND
11. UP en DN ▲ ▼
12. APS
13. EJECT
14. 1/
15. 2/INT
16. 3/RPT
17. 4/RDM
18. 5/-10
19. 6/+10
20. USB-poort
21. RESET
22. AV INGANG
23. LED-INDICATOR
24. SD/MMC-KAARTSLEUF
Hoofdeenheid
Het apparaat inschakelen/uitschakelen
Druk als het apparaat is uitgeschakeld op de toets PWR (1/R3) om het apparaat in te
schakelen.
Houd als het apparaat is ingeschakeld de toets PWR (1) ingedrukt of druk kort op de
toets PWR (R3) om het apparaat uit te schakelen.
Om de functiemodus te selecteren
Druk op de toets MODE om de modus TUNER, DISC (na het plaatsen van een disc),
USB (na het plaatsen van een USB-apparaat), Card (na het plaatsen van een MMC-
of SD-kaart), of AUX te selecteren.
Het volume instellen
Draai aan de knop VOL (6) of houd de knop + of – (R34/R31) ingedrukt om
rechtstreeks het volumeniveau aan te passen.
De MUTE-functie
Druk op de knop(R29) om de MUTE-modus in/uit te schakelen. U kunt de MUTE-
modus ook in-/uitschakelen door kort op de knop MUTE (1) te drukken.
De MUTE-modus kan geannuleerd worden door op een van de volgende knoppen te
drukken: MUTE, VOL(6) of +/-(R34/R31), SEL, MODE.
De tijd weergeven en instellen
Druk op de knop CLK om de tijd weer te geven.
Houd de knop CLK ingedrukt om de tijd aan te passen. De kleur van de uren op het
display verandert, draai vervolgens aan de knop VOL (6) of druk op de knop + of – (R34
of R31) om de uren in te stellen en druk vervolgens kort op de knop SEL om de kleur
van de minuten te veranderen, draai vervolgens aan de knop VOL (6) of druk op de
knop + of – (R34 of R31) om de minuten in te stellen.
Gebruik maken van de equalizer (EQ)
Druk op de knop EQ om de voorgeprogrammeerde equalizer te selecteren, u kunt
kiezen uit: POP, ROCK, CLAS, EQ FLAT.
LOUDNESS in-/uitschakelen
Druk op de knop LOUD (R38) om LOUDNESS in of uit te schakelen. Bij h et
inschakelen van LOUDNESS, zal het bassniveau onmiddellijk verhogen als er
onvoldoende bass is.
Het apparaat resetten
Als u het apparaat voor het eerst gebruikt, of na het vervangen van de accu van de
auto, moet u het apparaat resetten.
Verwijder eerst het voorpaneel en druk vervolgens op de knop RESET(21) met een
puntig voorwerp (zoals een balpen) om het apparaat te resetten naar zijn originele
status.
RADIO BELUISTEREN
Nederlands
Symbool
OPMERKING:Dit toestel is comatibel met VCD 1.0/2.0/3.0 en DVCD. Ondersteunde
Dossierformaten:MP1,MP2,MP3,MP4,JPG,MPG,DAT,VOB,AV.
Klank en Video
Klank en Video
Klank
Klank
Klank en Video
Klank en Video
Klank en Video
Courante SD/SDHC-Kaart
Versie 2.0 en minder
Inhoud Beschrijving van de drager
(eventueel)
Type disk of
bestand
Metalen beugel
Dashboard
Montageframe
Plaats de linker en rechter
sleutelplaten in de twee
zijkanten van het chassis
om het chassis uit het
montageframe te trekken
Chassis apparaat
Plastic buitenrand
Voorpaneel
Om het overslaan of vastlopen
van discs te verminderen,
bevestig de metalen beugel
aan het chassis van de auto.
Selecteer de juiste lipjes van de
metalen behuizing waar he
t
apparaat kan inschuiven om deze
metalen behuizing vast te zetten.
Keuze van de frequentieband
Druk in radiomode herhaaldelijk op de toets BAND (2/H3) om een frequentieband te
kiezen in de volgende volgorde: FM1 -> FM2 -> FM3 -> MW1 -> MW2.
Handmatig afstemmen
Druk in de radiomodus kort op de knop UP ▲ /DN (11) of op de knop / (R5/▼
R7) om handmatig naar uw favoriete zender met een hogere of lagere frequentie te
zoeken, stap voor stap vanaf de huidige frequentie.
Automatisch afstemmen
Houd in de radiomodus de knop UP /DN (11) of de knop / (R5/R7) ▲ ▼
ingedrukt om automatisch naar zenders op hogere/lagere frequenties te zoeken vanaf
de huidige frequentie. Druk nogmaals om te stoppen met zoeken.
APS-functie
In radiomodus
1) Als u de knop APS ingedrukt houdt, zal de radio zoeken naar de zenders met de
sterkste signalen op de huidige band en deze automatisch in het geheugen opslaan.
De radio kan tot 18 FM-zenders (6 FM1, 6 FM2 en 6 FM3) en 12 MW-zenders (6
MW1 en 6 MW2) opslaan.
2) Als u kort op de knop APS drukt, zal de radio elke voorkeurszender voor een
paar seconden worden afgespeeld. Als dit is voltooid, zal de radio naar de eerste
voorkeurszender gaan.
AFSPELEN VAN DISC, USB OF MMC/SD
Afspelen starten
Druk kort op de knop POWER om de DVD-speler aan te zetten.
Druk op de knop REL om het voorpaneel los te koppelen van het apparaat.
Plaats een disc in de DISCSLEUF (Label naar boven gericht), sluit het voorpaneel
vervolgens.
Opmerkingen over discs
• Gebruik geen CD’s met onregelmatige vormen (bijvoorbeeld: hartvormige of
octogonale cd’s). Dit kan leiden tot storingen.
• Als er een kras, vuil of vingerafdrukken op de disc zitten, dan kan dit zoekfouten
veroorzaken.
Maak de disc voor het afspelen schoon met een schoonmaakdoekje. Veeg de disc
van binnen naar buiten schoon. Berg discs niet op op plaatsen met hoge temperaturen
of hoge luchtvochtigheid, hierdoor kunnen discs kromtrekken. Berg discs na gebruik
op in hun doosje.
Afspelen pauzeren
Druk tijdens het afspelen op om het afspelen te pauzeren, druk nogmaals om het
afspelen te hervatten.
Afspelen stoppen
Druk tijdens het afspelen van DVD/VCD-discs één keer op om het afspelen tijdelijk ■
te stoppen, druk op om het normale afspelen te hervatten. Druk TWEE keer op
stop om het afspelen compleet te stoppen.
Hoofdstuk/track selecteren met de knop UP/DN of de knop /
Druk tijdens het afspelen op de knop UP/DN op het voorpaneel of de knop / op
de afstandsbediening om naar het volgende of vorige hoofdstuk/track te gaan.
Opmerking: Druk meerdere keren op UP/DN of / om meerdere hoofdstukken/
tracks terug/vooruit te gaan.
GROEN
RCA AUDIO UIT
WOOFER LINE UIT
ACHTERUITKIJKCAMERA
ACHTERUIT DRAAD WIT
PARKEER DRAAD GROEN
GRIJS
GRIJS
GRIJS
ZWART
ZWART
ZWART
ZWART
ZWART
GEEL
GEEL
GEEL
AM/FM-ANTENNE
VASTE VROUWELIJKE ISO CONNECTOR
VIDEO UIT
BOUT OM SCHROEF VAST TE ZETTEN
ROOD
RECHTS
WIT
LINKS
M-355 DR
Gebruiksaanwijzingen
AUTORADIO/DVD-SPELER MET USB/SD
Gelieve voor gebruik deze handleiding
aandachtig te lezen.
AR-3046 IB MUSE 001 REV0 NL.indd1 1 2011-10-20 13:00:45
Probleemoplossing Muse M-355
Als je de handleiding al zorgvuldig hebt gelezen maar geen oplossing voor je probleem hebt gevonden, vraag dan andere gebruikers om hulp
Specificaties
| Merk: | Muse |
| Categorie: | Autoradio |
| Model: | M-355 |