Whirlpool WCT 84 FLYX Handleiding
Hier is de Whirlpool WCT 84 FLYX (Afzuigkap) gebruikershandleiding. 2 pagina's in taal Nederlands met een gewicht van 0.4 Mb. Als u geen antwoorden op uw probleem kunt vinden Vraag het onze community.
Pagina 1/2

NL
Snelgids
DANK U WEL VOOR UW AANKOOP VAN EEN
WHIRLPOOL PRODUCT
Voor verdere assistentie kunt u het apparaat registeren
op www.whirlpool.eu/register
Lees de instructies aandachtig voordat u het apparaat
gebruikt.
PRODUCTBESCHRIJVING
EERSTE GEBRUIK
LUCHTVENTILATIE(VOOR DE AFZUIGUITVOERINGEN)
Sluit de kap en de afzuiging aan op openingen in de muren met een
diameter die overeenkomt met de luchtuitlaatopening (aansluitens).
Als u buizen en kleinere openingen gebruikt, leidt dit tot verminderde
zuigprestaties en kan het lawaai drastisch toenemen.
In zulke gevallen wordt elke aansprakelijkheid van de hand gewezen.
!Gebruik een kanaal dat de noodzakelijke minimumlengte heeft.
!Gebruik een kanaal met zo weinig mogelijk bochtstukken (maximale
bochtstukhoek: 90°).
!Voorkom drastische veranderingen in de dwarsdoorsnede van het
kanaal.
!Het bedrijf wijst elke aansprakelijkheid af als deze voorschriften niet
in acht worden genomen.
FILTER OF KANAAL?
!Uw kookplaatkap is klaar om gebruikt te worden in de zuiguitvoering.
Als u de kap wilt gebruiken in de lteruitvoering, moet de speciale
ACCESSOIRESET worden geïnstalleerd.
Controleer of de ACCESSOIRESET geleverd is of apart gekocht moet
worden.
Opmerking: Indien aanwezig kan het aanvullende systeem met actieve
kool in bepaalde gevallen in de kap worden geïnstalleerd. Informatie over
het omzetten van de zuiguitvoering van de kap in de filteruitvoering vindt
u in de handleiding “Veiligheidsinstructies & Installatie”.
KANAALUITVOERING
Bij deze uitvoering worden dampen het gebouw uit geleid via een
speciale pijp die verbonden is met de verbindingsring boven op de
kap.
Let op! De uitlaatpijp wordt niet meegeleverd en moet apart worden
aangeschaft. De diameter van de uitlaatpijp moet gelijk zijn aan die
van de verbindingsring.
Let op! Als de kap met een actieve-koollter wordt geleverd, moet dit
lter worden verwijderd.
FILTERUITVOERING
De opgenomen lucht wordt ontvet en geurloos gemaakt voordat deze
weer terug in de ruimte wordt geblazen.
Om de kap in deze uitvoering te kunnen gebruiken, moet u een
systeem voor aanvullende ltering installeren dat werkt met actieve
kool.
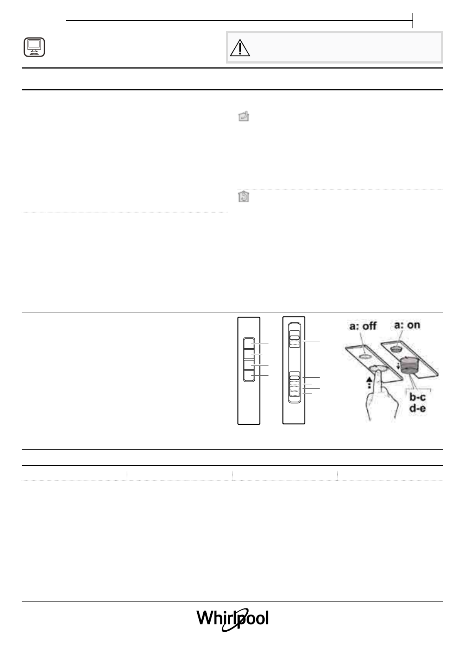
BEDIENINGSPANEEL
De kap is uitgerust met een bedieningspaneel dat een selectietoets
voor de luchtsnelheid en een lichtschakelaar voor de verlichting boven
de kookplaat bevat.
a. AAN/UIT verlichting
b. UIT motoren
c. - d. - e. Minimaal zuigvermogen (c.), gemiddeld (d.), maximaal (e.).
TECHNISCHE GEGEVENS
Hoogte (cm) Breedte (cm) Diepte (cm) Ø van uitlaatbuis (cm)
17.2 49.3 - 69.3 25.7 12.5
* Alleen bij bepaalde modellen
Probleemoplossing Whirlpool WCT 84 FLYX
Als je de handleiding al zorgvuldig hebt gelezen maar geen oplossing voor je probleem hebt gevonden, vraag dan andere gebruikers om hulp
Specificaties
| Merk: | Whirlpool |
| Categorie: | Afzuigkap |
| Model: | WCT 84 FLYX |